新闻动态

  • 压力调节阀不动作

    调节阀不动作故障原因分析 原因1: 无气源或气源压力过小。 措施:应首先检查气源( 仪表空气) 是否通畅,气源压力是否达到该阀使用要求。 原因2: 有气源,无输出信号气压力。

    2024-09-06 科威

  • DDV阀介绍及其应用

    200MW以上机组配备的DEH产品主要以高压抗燃油全电调为主,随着电力市场的发展,电厂控制的自动化程度不断提高,小机组汽机控制系统的自动化程度在不断地提高。而小机组投资相对较少,低压纯电调改造方案既解决了投资地问题,又满足了电厂自动化控制的要求。2001年开始GE新华为了满足用户的要求,设计采用了一种以直线马达驱动的电液转换器(DDV阀)为电液接口的低压透平油纯电调系统。下面就DDV阀的结构、特点及结合顶目的应用来说明

    2024-08-05 科威

  • 锅炉主给水再循环阀门(省煤器再循环阀门)报故障

    省煤器再循环的原理 省煤器再循环是指在锅炉烟气通过省煤器冷却后,将其余热再次回收利用的过程。具体原理为:将锅炉排出的高温烟气导入省煤器进行冷却,使烟气中高温余热被吸收。然后,将冷却后的烟气再导入锅炉进行再循环利用,以达到节能减排的目的。

    2024-07-26 科威

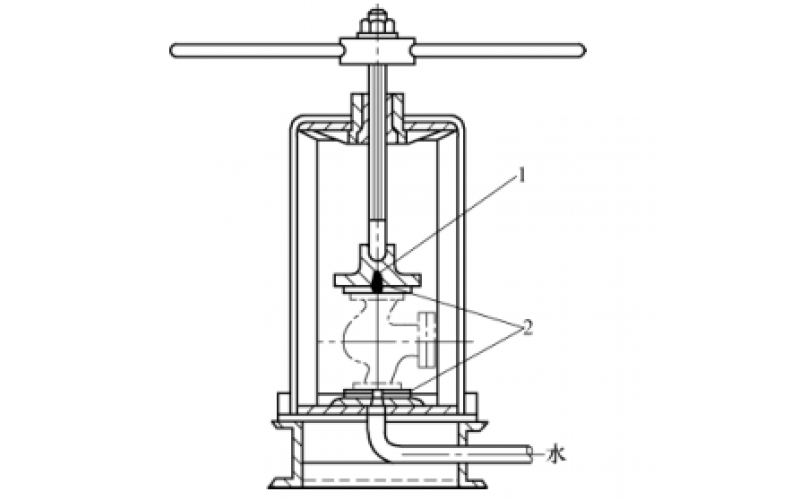
  • 阀门怎样进行强度试验和严密性试验?

    阀门的强度试验和严密性试验一般在如图1所示的阀门水压试验台上进行。

    2024-07-19 科威

  • 如何理解阀门安装前的强度和严密性试验?

    阀门安装前,应作强度和严密性试验。试验应在每批(同牌号、同型号、同规格)数量中抽查10%,且不少于一个。对于安装在主干管上起切断作用的闭路阀门,应逐个作强度和严密性试验。

    2024-07-19 科威

  • 减温减压调节阀、大压差调节阀的选型与使用

    减温减压装置是现代工业中电力、化工、热电联产、集中供热(或供汽)、纺织等企业在热能工程中广泛应用的一种蒸汽热能参数转变装置和利用余热的节能装置。主要作用是把用户提供的蒸汽参数降到用户需要合适的温度和压力,以满足用户的使用要求,并且能够充分节约热能,合理使用热能。

    2024-07-10 科威

  • 辊压机液压系统常见故障及处理

    原因分析: 1、液压油不足,液位低;2、主油缸内泄;3、油泵损坏导致无法加压;4、加压电磁阀线圈不得电;5、减压阀损坏或卡死;6、安全溢流阀松动或溢流阀组卡死、损坏。

    2024-07-03 科威

  • 浆液循环泵排空门信号解读及故障处理技巧

    一年一度的迎峰度夏马上来临,用电量不断刷新,电力行业都在积极备战,天气变化无常,暴风雨也会不期而至,尤其梅雨季节,由于防护不当,经常发现浆液循环泵排空门DCS反馈信号为白色,导致浆液循环泵不能及时启动,严重时影响排口数据,如何处理呢?

    2024-07-01 科威

首页
产品
新闻
联系